| Standard: CB/T 3844-2000 |
| Type: Roller type |
| Suitable chain size: 42mm~132mm |
| Availible cert.: CCS, ABS, BV, DNV, LR and other certificates. |
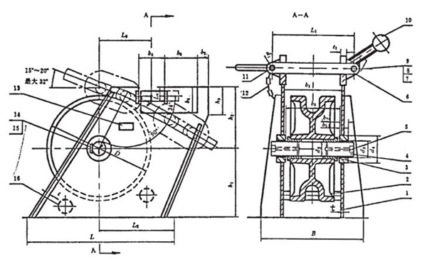
CBT 3844-2000 Marine Roller Type Cable Stopper

Introduction:
The marine roller type cable stopper specified in the standard CBT 3844-2000 is an improved version of the marine roller type cable stopper of the standard GB 4443-1984. The improved marine roller type cable stopper has the following points:
1. Suitable for anchor chains with chain diameters ranging from 42mm to 132mm;
2. The main material is changed from cast steel to welded steel plate;
3. The extension of the side panel of the body can be directly welded to the deck;
4. The thickness of each part is rationalized, the strength distribution is reasonable, and the weight is reduced.
The roller shaft and the guillotine of the marine roller-type cable stopper should be normalized before processing. The surface of the marine roller-type cable stopper should be sprayed with anti-rust primer and then covered with asphalt paint. The rotating parts of marine roller-type cable stopper should be treated with grease.
Drawings and Parameters of CBT 3844-2000 Marine Roller Type Cable Stopper:

Form 1-1:
Nominal Size | Dia. of Anchor Chain | L | L1 | L2 | L3 | L4 | B | b1 | b2 | b3 | b4 | b5 | b6 |
44 | 42~44 | 1000 | 370 | 400 | 270 | 80 | 380 | 260 | 250 | 240 | 110 | 10 | 180 |
48 | 46~48 | 1050 | 420 | 450 | 300 | 85 | 446 | 286 | 250 | 266 | 120 | 10 | 190 |
52 | 50~52 | 1100 | 440 | 500 | 320 | 90 | 510 | 310 | 250 | 290 | 130 | 10 | 200 |
56 | 54~56 | 1150 | 450 | 550 | 340 | 92 | 556 | 316 | 250 | 296 | 140 | 10 | 210 |
60 | 58~60 | 1200 | 470 | 570 | 360 | 95 | 610 | 330 | 280 | 310 | 150 | 10 | 220 |
64 | 62~64 | 1250 | 500 | 600 | 370 | 100 | 666 | 346 | 280 | 326 | 160 | 10 | 230 |
68 | 66~68 | 1300 | 550 | 640 | 394 | 105 | 732 | 372 | 280 | 350 | 170 | 11 | 240 |
73 | 70~73 | 1350 | 570 | 670 | 414 | 110 | 800 | 400 | 280 | 376 | 180 | 12 | 260 |
78 | 76~78 | 1400 | 610 | 700 | 442 | 115 | 865 | 425 | 280 | 399 | 190 | 13 | 280 |
84 | 81~84 | 1460 | 650 | 740 | 475 | 120 | 940 | 454 | 280 | 426 | 200 | 14 | 300 |
90 | 87~90 | 1540 | 710 | 780 | 507 | 135 | 1030 | 484 | 280 | 454 | 210 | 15 | 340 |
95 | 92~95 | 1600 | 740 | 820 | 535 | 140 | 1080 | 508 | 280 | 476 | 220 | 16 | 370 |
102 | 97~102 | 1680 | 790 | 870 | 572 | 145 | 1150 | 540 | 280 | 506 | 230 | 17 | 400 |
107 | 105~107 | 1750 | 840 | 900 | 600 | 450 | 1210 | 569 | 280 | 533 | 240 | 18 | 420 |
114 | 111~114 | 1820 | 880 | 940 | 637 | 160 | 1270 | 598 | 280 | 560 | 250 | 19 | 450 |
122 | 117~122 | 1880 | 930 | 1010 | 679 | 165 | 1340 | 632 | 280 | 592 | 260 | 20 | 490 |
132 | 124~132 | 1960 | 1000 | 1080 | 730 | 175 | 1440 | 674 | 280 | 632 | 270 | 21 | 510 |
Form 1-2:
Nominal Size | b7 | b8 | D | d1 | d2 | d3 | d4 | h1 | h2 | h3 | t1 | t | Weight(kg) |
44 | 60 | 140 | 484 | 22 | 67 | 70 | 145 | 382 | 281 | 160 | 32 | 12 | 274 |
48 | 65 | 150 | 528 | 26 | 73 | 74 | 156 | 414 | 306 | 170 | 34 | 13 | 351 |
52 | 70 | 165 | 572 | 32 | 77 | 78 | 160 | 440 | 338 | 180 | 36 | 14 | 451 |
56 | 75 | 180 | 600 | 34 | 81 | 84 | 164 | 460 | 354 | 190 | 38 | 15 | 536 |
60 | 80 | 200 | 620 | 38 | 87 | 92 | 170 | 490 | 378 | 200 | 40 | 16 | 651 |
64 | 86 | 220 | 640 | 40 | 94 | 95 | 178 | 520 | 400 | 210 | 42 | 17 | 753 |
68 | 93 | 230 | 680 | 42 | 101 | 103 | 186 | 540 | 420 | 220 | 45 | 18 | 939 |
73 | 99 | 240 | 730 | 45 | 109 | 110 | 194 | 580 | 460 | 240 | 48 | 20 | 1178 |
78 | 105 | 250 | 780 | 48 | 116 | 117 | 208 | 630 | 490 | 260 | 50 | 22 | 1422 |
84 | 112 | 260 | 840 | 50 | 124 | 125 | 220 | 670 | 530 | 280 | 55 | 24 | 1758 |
90 | 119 | 270 | 900 | 55 | 132 | 133 | 236 | 720 | 570 | 320 | 60 | 26 | 2171 |
95 | 126 | 275 | 950 | 58 | 139 | 140 | 248 | 760 | 610 | 345 | 65 | 28 | 2567 |
102 | 134 | 290 | 1020 | 60 | 148 | 149 | 264 | 800 | 650 | 375 | 70 | 30 | 2755 |
107 | 139 | 295 | 1070 | 63 | 154 | 155 | 274 | 860 | 690 | 395 | 75 | 32 | 3640 |
114 | 147 | 305 | 1140 | 68 | 163 | 164 | 290 | 910 | 740 | 425 | 80 | 34 | 4302 |
122 | 156 | 325 | 1220 | 70 | 173 | 174 | 308 | 980 | 790 | 465 | 85 | 36 | 5326 |
132 | 167 | 350 | 1320 | 75 | 185 | 186 | 328 | 1060 | 860 | 490 | 90 | 38 | 6244 |
BACK TO TOP